网站首页
关于我们
产品中心
工程案例
荣誉资质
人才招聘
联系我们
产品中心
products
SMC华夫桶
奇士桶
高架地板
钢盖板
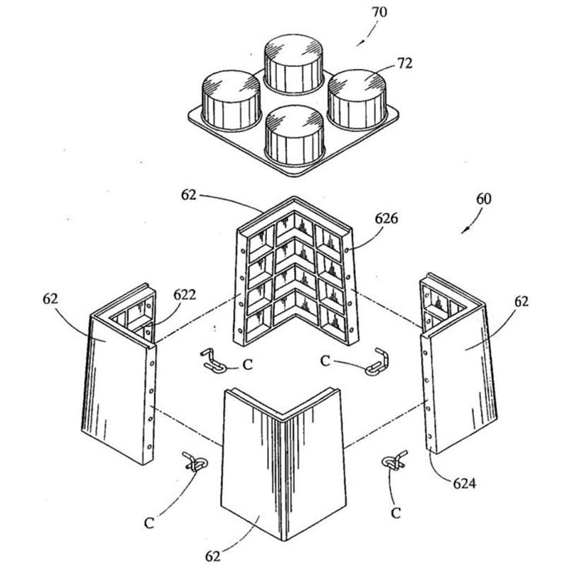
可拆式华夫桶
可拆式华夫桶主要起到楼 面成孔的作用,主要材料 有二种,一种是铝材,一 种是ABS材料,将材料高 温溶解后,利用模具成形 ,做成需要的模具,优点 是节约成本。